DO9403T-R1 Transmissor de PH ou ORP
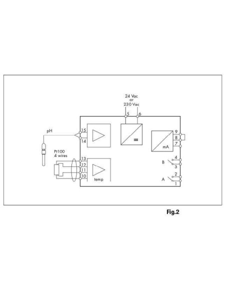
O transmissor de pH DO9403T-R1, converte a saída de um eletrôdo de pH, com compensação de temperatura, em um sinal à 4÷20 mA. O circuito de entrada do eletrôdo de pH ou Redox, é galvanicamente isolado contra o sinal de saída 4÷20mA. Um indicador LCD permite visualizar o valor do sinal do processo e dos vários parâmetros. O desenho preciso e a escolha certa dos componentes fazem do instrumento, um instrumento de precisão confiável de longa durabilidade.
O instrumento trabalha em conjunto com um eletrôdo de pH ou Redox e uma sonda de temperatura (sensor Pt100, 100 Ω à 0°C).
- Função das teclas:
PRG:
- A programação dos parâmetros é ativada pressionando a tecla PRG. No
O símbolo is acende e a mensagem P1 aparece para indicar que está na programação do parâmetro P1. Após pressionar a tecla PRG, são mostradas as gravadas P2, P3, P4, P5, P6, P7, P8, P9, P10 e seus parâmetros. Então P10 retorna à operação normal.
- Depois de ter visualizado o parâmetro de interesse, você pode ver o valor pressionando a tecla OK.
Para alterar o valor do parâmetro, use as teclas ▲ e ▼. Pressione a tecla OK para confirmar o valor do parâmetro.
SET:
- Chave para configurar o limite de intervenção dos relés. O símbolo Δ e o símbolo REL, fixo ou intermitente, aparecem no visor para indicar que o limiar de conexão ou desconexão, o relé A ou o relé B está sendo exibido.
°C/°F :
- Ativar esta tecla altera a unidade de medida da temperatura em graus Celsius ou Fahrenheit.
- Em conjunto com a tecla CAL, ativa a função de ajuste manual da temperatura.
- Se ativado durante a função de calibração de pH, a função é emitida sem salvar a calibração.
pH/mV:
- Pressionar esta tecla altera a unidade de medida em mV ou pH.
- Em conjunto com a tecla CAL, ativa a função de calibração de pH.
OK :
- Confirme os parâmetros de programação ou os valores dos relés SET e salve-os.
CAL:
- Em conjunto com a tecla ° C / ° F, ativa a função de ajuste manual da temperatura.
- Em conjunto com a tecla pH / mV, ativa a função de calibração de pH.
- Tecla usada para confirmar a calibração de pH e ajuste manual de temperatura.
▲
- Chave para aumentar o valor exibido durante a programação dos parâmetros.
- Durante a programação do relé SET.
- Durante a calibração.
▼
- Tecla para diminuir o valor exibido durante a programação do
parâmetros.
- Durante a programação do relé SET.
- Durante a calibração.
- SET configuração de relés:
- Pressionando a tecla SET, o símbolo Δ acende no display.
- Os símbolos REL e A também estão acesos no visor para indicar que o valor exibido corresponde ao limite de conexão do relé A.
- Para alterar este valor, pressione as teclas ▲ e ▼.
- Pressionando SET, o símbolo REL pisca e o símbolo A permanece ligado para indicar que o valor exibido corresponde ao limite de desconexão do relé A.
- Para alterar este valor, pressione as teclas ▲ e ▼.
- Ao pressionar a tecla SET, os símbolos REL e B acendem para indicar que o valor exibido corresponde ao limite de conexão do relé B.
- Para alterar este valor, pressione as teclas ▲ e ▼.
- Pressionando SET, o símbolo REL pisca e o símbolo B permanece ligado para indicar que o valor exibido corresponde ao limite de desconexão do relé B.
- Para alterar este valor, pressione as teclas ▲ e ▼.
- Pressionando SET, o instrumento salva os parâmetros configurados e retorna ao
operação normal. Os símbolos REL e Δ desaparecem.
NOTA: Durante a configuração de SET (símbolo REL aceso ou intermitente), o instrumento retorna à operação normal se nenhuma tecla for pressionada por 2 minutos.
- Configurações manuais de temperatura:
Se a sonda de temperatura não estiver conectada ou a sonda for interrompida, a unidade de medição ° C ou ° F pisca. Nesse caso, o valor de compensação de temperatura pode ser definido manualmente.
- Pressione as teclas CAL e ° C / ° F ao mesmo tempo. O símbolo Δ acende e a temperatura manual é exibida com a unidade de medida intermitente.
- Usando as teclas ▲ e ▼, defina o valor da temperatura correspondente ao
temperatura do líquido para o qual o pH deve ser medido.
- Pressione CAL para confirmar este valor. O símbolo Δ apaga-se e o instrumento
retorna para a exibição anterior.
- Calibração do eletrodo de pH:
Calibração do offset do eletrodo de pH:
- Mergulhe o eletrodo na solução tampão usada para calibrar o deslocamento (6.86
pH).
- Pressione a tecla CAL e a tecla pH / mV ao mesmo tempo, o símbolo Δ acende no display.
- Usando as teclas ▲ e ▼, ajuste o valor do pH medido de acordo com a temperatura do líquido.
- Pressione CAL para confirmar o valor. O símbolo Δ apaga-se.
Calibração da inclinação do eletrodo de pH:
- Mergulhe o eletrodo na solução tampão usada para calibrar a inclinação (pH de 4,01 ou 9,18).
- Pressione a tecla CAL e a tecla pH / mV ao mesmo tempo, o símbolo Δ acende no display.
- Usando as teclas ▲ e ▼, ajuste o valor do pH medido de acordo com a temperatura do líquido.
- Pressione CAL para confirmar o valor. O símbolo Δ apaga-se.
NOTA: Se você quiser sair sem salvar a nova calibração, pressione a tecla ° C / ° F. NOTA: O instrumento pode reconhecer automaticamente três soluções de calibração padrão: pH 4.01, pH 6.86 e 9.18 pH.
- Parâmetros de programação:
P1 Unidade de controle de relé e saída analógica, pH ou mV.
P2 pH / mV valor correspondente à saída de 4 mA. Configurável entre -1,00 pH ... 15,00 pH ou -1999 mV ... + 1999 mV.
P3 Valor de pH / mV correspondente à saída de 20 mA. Configurável entre -1,00 pH ... 15,00 pH ou -1999 mV ... + 1999 mV.
P4 Tempo de atraso no intervalo do relé A. Configurável entre 0 e 255
segundos
P5 Tempo de atraso no intervalo do relé B. Configurável entre 0 e 255
segundos
P6 Calibração da sonda Pt100.
P7 Calibração de saída em corrente de 4 mA.
P8 Calibração de saída em corrente de 20 mA.
P9 Calibração da tensão de entrada.
P10 Indicação do valor da tensão de compensação e do valor do declive da
eletrodo
Para alterar um desses parâmetros, pressione a tecla PRG até que o parâmetro correspondente ao parâmetro a ser alterado apareça no mostrador. Pressione a tecla OK para exibir o valor do parâmetro.
Use as teclas ▲ e ▼ para trazer o parâmetro exibido ao valor desejado.
Pressione OK novamente para confirmar.
O parâmetro P10 não pode ser modificado, mas apenas exibido.
NOTA P6-P7-P8-P9: calibrações da empresa a serem realizadas no laboratório com pessoal especializado.
- Calibração da sonda Pt100 (100 Ω a 0 ° C):
- Conecte a ponta de prova Pt100 ao instrumento. Pressione a tecla PRG até que a escrita P6 apareça no mostrador.
- Pressione a tecla OK. A temperatura medida atualmente aparece no visor.
- Mergulhe a sonda Pt100 e um termômetro de precisão de referência no banho de calibração zero. Aguarde o tempo necessário para estabilizar a leitura.
- Usando as teclas ▲ e ▼, ajuste o valor da temperatura medida da sonda
Pt100 para corresponder ao valor do termômetro de referência de precisão.
- Mergulhe a sonda Pt100 e um termômetro de precisão no banho de calibração em escala profunda. Aguarde o tempo necessário para estabilizar a leitura.
- Usando as teclas ▲ e ▼, ajuste o valor de temperatura medido pela sonda
Pt100 para corresponder ao valor do termômetro de referência de precisão.
- Pressione OK para confirmar. Saia da programação, pressionando repetidamente
PRG.
NOTA: Se a temperatura exibida pelo instrumento for comprimida em ± 12 ° C, o instrumento calibra o desvio da ponta de prova. Contra, calibre o ganho.
- Calibração da saída analógica:
- Conecte um miliamperímetro de precisão à saída analógica.
- Pressione a tecla PRG até que a escrita P7 apareça no mostrador.
- Pressione a tecla OK. 4.0 escrito aparece no visor para indicar o calibração de acordo com 4 mA.
- Com as teclas ▲ e ▼, ajuste o valor da corrente de saída para obter Indicação de 4,00 mA no miliamperímetro de precisão.
- Pressione a tecla PRG até que a escrita P8 apareça no mostrador.
- Pressione a tecla OK. Escrita 20.0 aparece no visor para indicar o calibração de acordo com 20 mA.
- Com as teclas ▲ e ▼, ajuste o valor da corrente de saída para obter indicação de 20,00 mA no miliamperímetro de precisão.
- Pressione OK para confirmar. Saia da programação, pressionando repetidamente PRG.
- Calibração de tensão de entrada:
- Pressione a tecla PRG até que a escrita P9 apareça no mostrador.
- Pressione a tecla OK. O valor em mV da entrada aparece no visor.
- Ao entrar, simule uma voltagem de 0 mV (se a voltagem for comprimida
entre ± 25 mV, o zero é calibrado. Em contraste, a escala profunda é calibrada).
- Usando as teclas ▲ e ▼, ajuste o valor da voltagem para exibir o valor correto da voltagem.
- Pressione a tecla SET. No visor, a indicação REL mostra que o instrumento está medindo a tensão na entrada, usando a segunda escala de medição.
- Usando as teclas ▲ e ▼, ajuste o valor da voltagem para exibir o valor correto da voltagem.
- Pressionando a tecla SET, a indicação REL se apaga no display.
- Ao entrar, simule uma voltagem de 450 mV, correspondente à escala profunda da primeira escala.
- Usando as teclas ▲ e ▼, ajuste o valor da voltagem para exibir o valor de
tensão correta.
- Ao entrar, simule uma voltagem de 1.800 mV, correspondente à profundidade
escala da segunda escala.
- Usando as teclas ▲ e ▼, ajuste o valor da voltagem para exibir o valor de
tensão correta.
- Pressione OK para confirmar. Saia da programação, pressionando repetidamente PRG.
- Visualizador:
Descrição do símbolo:
° C indica que o valor exibido está em ° C.
° F indica que o valor exibido está em ° F.
pH indica que a magnitude do valor exibido é pH.
mV indica que a magnitude do valor exibido é milivolt.
A indica que o relé A está fechado.
B indica que o relé B está fechado.
REL
- indica que o valor exibido corresponde ao limite de fechamento do
contatos de relé A ou B
- indica que estamos na fase de calibração do deslocamento do segundo
escala de medição de tensão.
REL relâmpago
- indica que o valor exibido corresponde ao limite de abertura dos contatos do relé A ou B
- indica que os limiares de fechamento e abertura dos relés A e B estão sendo modificados
- indica que a temperatura de compensação manual está sendo modificada
- indica que estamos calibrando o eletrodo de pH.
- Sinal de erro:
OFL - Sinal que aparece durante a medição quando o valor a ser exibido está fora da escala.
E1 - Sinal de erro que aparece durante a fase de calibração de pH para indicar que o valor de correção do eletrodo é muito alto em valor absoluto.
E2 - Sinal de erro que aparece durante a fase de calibração de pH para indicar que as duas soluções tampão usadas para a calibração fornecem uma leitura em mV muito diferente uma da outra.
E3 - Sinal de erro que aparece durante a fase de calibração de pH para indicar que as duas soluções tampão usadas para a calibração fornecem uma leitura em mV muito próxima uma da outra (aproximadamente 50 mV a 25 ° C).
E4 - Erro de leitura na EEPROM.
E5 - Sinal de erro que aparece para indicar que o cálculo da pendência
(declive) fornece um valor inferior a 20% em relação ao valor nominal ou
fornece um valor negativo.
E6 - Sinal de erro que aparece para indicar que o cálculo da pendência (declive) fornece um valor inferior a 150% em relação ao valor nominal.
- Código do pedido:
DO9403T-R1: Transmissor de pH 4 ÷ 20 mA passivo ou ativo, alimentando 24 Vac, dimensões 120x80x56 mm por campo.
HD882 M100/300: Sensor de temperatura do sensor Pt100, cabeça, haste Ø 6x300 mm.
HD882 M100/600: Sensor de temperatura do sensor Pt100, cabeça, haste Ø 6x600 mm.
HD8642: Solução tampão 4,01 pH.
HD8672: Solução tampão 6,86 pH.
HD8692: Solução tampão 9,18 pH.
HDR220: Solução tampão redox 220mV.
HDR468: Solução tampão redox 468mV.
HD62PT: Limpeza dos diafragmas (tioureia em HCl) - 500 ml.
HD62PP: Limpeza de proteínas (pepsina em HCl) - 500 ml.
HD62RF: Regeneração (ácido fluorídrico) - 100ml.
HD62SC: Solução para a conservação dos eletrodos - 200ml.
CP5: Cabo de extensão 5 m. Conector / rosca S7.
CP5/10: Cabo de extensão de 10m. Conector / rosca S7.
CP5S: Cabo de extensão 5 m. Conector BNC / S7.
CP5S/10: Cabo de extensão de 10m. Conector BNC / S7.
KPI10: Eletrodo industrial combinado, conector S7 PG13.5, gel, corpo de vidro, Ag / AgCI sat. KCl Ø 12x12mm, temperatura 0 ... 130 ° C, conexão de Teflon porosa. KPI 11: Eletrodo industrial combinado, conector S7, conexão NPT 3/4 ", corpo Rytron, Ag / AgCl sat KCl, temperatura 0 ... 100 ° C, conexão porosa de Teflon.
KPI12: Eletrodo redox de platina, conector S7 PG13.5, pressão 6 bar, vidro, Ag / AgCl sat KCl.
KPI13: Eletrodo redox de platina, corpo de RyClon S7 PG13.5 Ag / AgCl sat KCl.
