- Inicio
- Quem somos
- Produtos
-
Marcas
-
Produtos por Medida
- Analisadores Vibração
- Bombas Peristálticas
- Fluxo de Ar
- CO Monóxido Carbono
- Contadores Geiger
- Destiladores
- Espectrofotometria
- Esterilização
- Fluorescência
- GEOTECNICS
- Umidade do Solo
- Índice de área foliar
- Chuva (pluviométrico)
- Meteorologia
- Nível de Água
- O2 oxigênio
- pH
- Pressão Diferencial
- Radiação
- Salinidade/Condutivid.
- Telemetria
- Velocidade do Ar
- Umidade Relativa
- Veterinary
- PILHAS DE COMBUSTÍVEL
- Analisadores de Redes
- Calibradores
- CAUDAL DE ÁGUA
- Cor / Colorímetro
- Contadores Partículas
- Direçao Vento
- Espectrometria
- Evapotranspiração
- Fotossíntese
- Rachaduras edifícios
- Inspeção de Tubos
- Luz Quântica
- Movimento e GPS
- Nível de diesel
- Oxigênio Dissolvido DO
- Pressão Atmosférica
- Radon
- Savia/Fluxo de Savia
- Temperatura
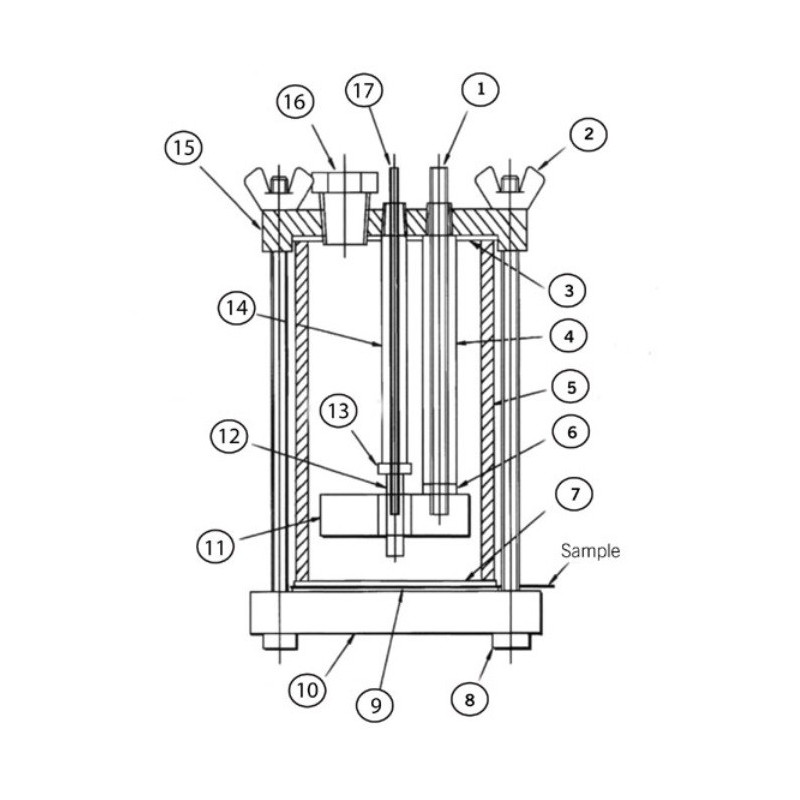
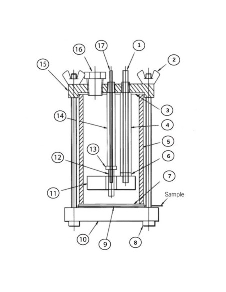
K0307 Tait Cell Kit
K0307 Tait Cell Kit possui um design industrial para atender às necessidades de testes mais robustos.
- Projetado especificamente para estudos de corrosão em amostras planas em condições onde eletrodos de referência típicos são incompatíveis
- Inclui eletrodos de referência Hastelloy C-276 e contra eletrodos
- Área de amostra exposta de 32 cm2
- Para volumes tão baixos quanto 80 mL
- Eletroquímica
- Acessórios